E.3 Solid Element and In-Plane Behavior of Shell Element
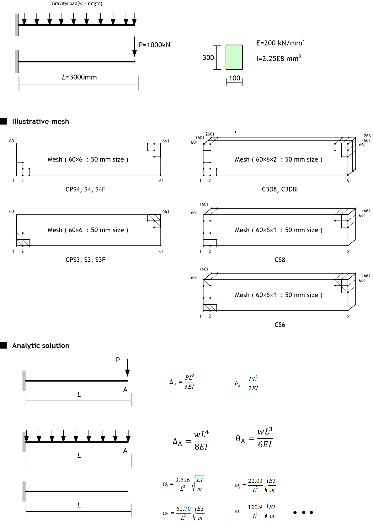
캔틸러버에 대한 정적해석 및 고유치 해석을 통해 메쉬 크기에 따라 검증하였다.

Figure E.3.1 Analysis Model and Analytic Solutions
Table E.3.1 Tip Load Results (Reference : 200mm)
| Mesh | CPS3 | CPS4 | S3F | S4F | S3 | S4 | CS6 | CS8 |
|---|---|---|---|---|---|---|---|---|
| 10×1 | 46.8761 | 138 | 46.8761 | 138 | 46.8761 | 138 | 45.3629 | 137.217 |
| 20×2 | 109.486 | 180.285 | 109.486 | 180.285 | 109.486 | 180.285 | 107.166 | 179.425 |
| 30×3 | 146.461 | 191.318 | 146.461 | 191.318 | 146.461 | 191.318 | 144.409 | 190.569 |
| 40×4 | 166.208 | 195.531 | 166.208 | 195.531 | 166.208 | 195.531 | 164.543 | 194.856 |
| 50×5 | 177.3 | 197.553 | 177.3 | 197.553 | 177.3 | 197.553 | 175.932 | 196.924 |
| 60×6 | 183.98 | 198.673 | 183.98 | 198.673 | 183.98 | 198.673 | 182.821 | 198.074 |
| Mesh | C3D4 | C3D6 | C3D8 | C3D8I |
|---|---|---|---|---|
| 30×3×1 | - | - | 190.569 | 200.695 |
| 60×6×2 | 184.347 | 183.208 | 198.33 | 200.989 |
Table E.3.2 Gravity Load Results (Reference : 0.51981mm)
| Mesh | CPS3 | CPS4 | S3F | S4F | S3 | S4 | CS6 | CS8 |
|---|---|---|---|---|---|---|---|---|
| 10×1 | 0.123254 | 0.360598 | 0.123254 | 0.360598 | 0.123254 | 0.360598 | 0.119257 | 0.35816 |
| 20×2 | 0.285687 | 0.469677 | 0.285687 | 0.469677 | 0.285687 | 0.469677 | 0.279514 | 0.467071 |
| 30×3 | 0.381671 | 0.498273 | 0.381671 | 0.498273 | 0.381671 | 0.498273 | 0.37616 | 0.496027 |
| 40×4 | 0.432967 | 0.509214 | 0.432967 | 0.509214 | 0.432967 | 0.509214 | 0.428454 | 0.507205 |
| 50×5 | 0.461797 | 0.514472 | 0.461797 | 0.514472 | 0.461797 | 0.514472 | 0.458056 | 0.512612 |
| 60×6 | 0.479166 | 0.517386 | 0.479166 | 0.517386 | 0.479166 | 0.517386 | 0.475971 | 0.515624 |
| Mesh | C3D4 | C3D6 | C3D8 | C3D8I |
|---|---|---|---|---|
| 30×3×1 | - | - | 0.496027 | 0.522385 |
| 60×6×2 | 0.479903 | 0.478154 | 0.516267 | 0.523201 |
Table E.3.3 Surface Load Results (Reference : 0.51981mm)
| Mesh | CPS3 | CPS4 | S3F | S4F | S3 | S4 | CS6 | CS8 |
|---|---|---|---|---|---|---|---|---|
| 10×1 | 0.123314 | 0.360589 | - | - | - | - | 0.119319 | 0.358151 |
| 20×2 | 0.285855 | 0.469896 | - | - | - | - | 0.27968 | 0.467288 |
| 30×3 | 0.381905 | 0.498553 | - | - | - | - | 0.376394 | 0.496307 |
| 40×4 | 0.433238 | 0.509518 | - | - | - | - | 0.428725 | 0.507509 |
| 50×5 | 0.462088 | 0.514787 | - | - | - | - | 0.458348 | 0.512928 |
| 60×6 | 0.47947 | 0.517708 | - | - | - | - | 0.476276 | 0.515948 |
| Mesh | C3D4 | C3D6 | C3D8 | C3D8I |
|---|---|---|---|---|
| 30×3×1 | - | - | 0.496307 | 0.522681 |
| 60×6×2 | 0.48021 | 0.47728 | 0.516588 | 0.523527 |
Table E.3.4 TemperatureLoad 결과 (Reference : 1.5 mm)
| Mesh | CPS3 | CPS4 | S3F | S4F | S3 | S4 | CS6 | CS8 |
|---|---|---|---|---|---|---|---|---|
| 10×1 | 1.54851 | 1.51046 | 1.54851 | 1.51046 | 1.54851 | 1.51046 | 1.56504 | 1.52459 |
| 20×2 | 1.52875 | 1.50676 | 1.52875 | 1.50676 | 1.52875 | 1.50676 | 1.53841 | 1.51409 |
| 30×3 | 1.51903 | 1.50572 | 1.51903 | 1.50572 | 1.51903 | 1.50572 | 1.52584 | 1.51094 |
| 40×4 | 1.51398 | 1.50525 | 1.51398 | 1.50525 | 1.51398 | 1.50525 | 1.51933 | 1.50948 |
| 50×5 | 1.51112 | 1.50498 | 1.51112 | 1.50498 | 1.51112 | 1.50498 | 1.51564 | 1.50869 |
| 60×6 | 1.50937 | 1.50481 | 1.50937 | 1.50481 | 1.50937 | 1.50481 | 1.51337 | 1.50819 |
| Mesh | C3D4 | C3D6 | C3D8 | C3D8I |
|---|---|---|---|---|
| 30×3×1 | - | - | 1.51094 | 1.50967 |
| 60×6×2 | 1.51613 | 1.5127 | 1.50807 | 1.50756 |
*(끝단변위) = alpha*temperatue*length = 1E-5*50*3000 = 1.5 mm
Table E.3.5 Frequency Analysis Results (Strong-Axis Bending Modes 1 and 2: 27.1792 Hz, 170.295 Hz)
| Mesh | CPS3 | CPS4 | S3F | S4F | S3 | S4 | CS6 | CS8 |
|---|---|---|---|---|---|---|---|---|
| 10x1 | 55.6152 315.154 |
32.5794 198.74 |
55.6152 315.154 |
32.5794 198.74 |
55.6152 315.154 |
32.5794 198.74 |
9.09644(W.B.1) 56.5352(S.B.1) 57.5109(W.B.2) 160.604(T.B.1) 165.464(W.B.3) 319.16(S.B.2) |
9.08809(W.B.1) 32.691(S.B.1) 58.0442(W.B.2) 166.157(T.B.1) 169.013(W.B.3) 199.374(S.B.2) |
| 20x2 | 36.5603 217.139 |
28.5272 172.686 |
36.5603 217.139 |
28.5272 172.686 |
36.5603 217.139 |
28.5272 172.686 |
9.08135(W.B.1) 36.9611(S.B.1) 56.8575(W.B.2) 159.245(W.B.3) 163.649(T.B.1) 219.275(S.B.2) |
9.07819(W.B.1) 28.6069(S.B.1) 56.9748(W.B.2) 160.281(W.B.3) 165.604(T.B.1) 173.138(S.B.2) |
| 30x3 | 31.6341 189.365 |
27.6917 167.066 |
31.6341 189.365 |
27.6917 167.066 |
31.6341 189.365 |
27.6917 167.066 |
9.07693(W.B.1) 31.8647(S.B.1) 56.7231(W.B.2) 158.282(W.B.3) 162.156(T.B.1) 190.643(S.B.2) |
9.07524(W.B.1) 27.7543(S.B.1) 56.7725(W.B.2) 158.708(W.B.3) 162.228(T.B.1) 167.42(S.B.2) |
| 40×4 | 29.7018 178.204 |
27.3907 165.019 |
29.7018 178.204 |
27.3907 165.019 |
29.7018 178.204 |
27.3907 165.019 |
9.07492(W.B.1) 29.8577(S.B.1) 56.6727(W.B.2) 157.922(W.B.3) 160.927(T.B.1) 179.079(S.B.2) |
9.07368(W.B.1) 27.4449(S.B.1) 56.6984(W.B.2) 158.15(W.B.3) 160.582(T.B.1) 165.326(S.B.2) |
| 50×5 | 28.7599 172.709 |
27.2495 164.054 |
28.7599 172.709 |
27.2495 164.054 |
28.7599 172.709 |
27.2495 164.054 |
9.07379(W.B.1) 28.877(S.B.1) 56.648(W.B.2) 157.748(W.B.3) 160.003(T.B.1) 173.37(S.B.2) |
9.07281(W.B.1) 27.2989(S.B.1) 56.6631(W.B.2) 157.889(W.B.3) 159.543(T.B.1) 164.334(S.B.2) |
| 60×6 | 28.2339 169.623 |
27.1722 163.524 |
28.2339 169.623 |
27.1722 163.524 |
28.2339 169.623 |
27.1722 163.524 |
9.07307(W.B.1) 28.3285(S.B.1) 56.6338(W.B.2) 157.651(W.B.3) 159.329(T.B.1) 170.159(S.B.2) |
9.07226(W.B.1) 27.2186(S.B.1) 56.6435(W.B.2) 157.745(W.B.3) 158.873(T.B.1) 163.787(S.B.2) |
| Mesh | C3D4 | C3D6 | C3D8 | C3D8I |
|---|---|---|---|---|
| 30×2×1 | - | - | 11.0201(W.B.1) 27.7543(S.B.1) 68.8381(W.B.2) 162.816(T.B.1) 167.42(S.B.2) 191.968(W.B.3) |
9.07515(W.B.1) 27.0458(S.B.1) 56.772(W.B.2) 158.706(W.B.3) 162.218(T.B.1) 163.344(S.B.2) |
| 60×6×2 | 13.5954(W.B.1) 28.389(S.B.1) 84.5334(W.B.2) 170.494(S.B.2) 233.86(W.B.3) 243.065(T.B.1) |
9.26158(W.B.1) 28.247(S.B.1) 57.8122(W.B.2) 160.965(W.B.3) 169.7(S.B.2) 175.881(T.B.1) |
9.60045(W.B.1) 27.2017(S.B.1) 59.9194(W.B.2) 159.056(T.B.1) 163.688(S.B.2) 166.767(W.B.3) |
9.07605(W.B.1) 27.021(S.B.1) 56.6671(W.B.2) 157.812(W.B.3) 158.878(T.B.1) 162.645(S.B.2) |
W.B.: Weak-Axis Bending, S.B.: Strong-Axis Bending, T.B.: Torsional Bendin
Input File
-
CantS4F-10x1.inp : 10x1 elements, S4F
-
CantS4F-20x2.inp : 20x2 elements, S4F
-
CantS4F-30x3.inp : 30x3 elements, S4F
-
CantS4F-40x4.inp : 40x4 elements, S4F
-
CantS4F-50x5.inp : 50x5 elements, S4F
-
CantS4F-60x6.inp : 60x6 elements, S4F
-
CantS4-10x1.inp : 10x1 elements, S4
-
CantS4-20x2.inp : 20x2 elements, S4
-
CantS4-30x3.inp : 30x3 elements, S4
-
CantS4-40x4.inp : 40x4 elements, S4
-
CantS4-50x5.inp : 50x5 elements, S4
-
CantS4-60x6.inp : 60x6 elements, S4
-
CantS3F-10x1.inp : 10x1x2 elements, S3F
-
CantS3F-20x2.inp : 20x2x2 elements, S3F
-
CantS3F-30x3.inp : 30x3x2 elements, S3F
-
CantS3F-40x4.inp : 40x4x2 elements, S3F
-
CantS3F-50x5.inp : 50x5x2 elements, S3F
-
CantS3F-60x6.inp : 60x6x2 elements, S3F
-
CantS3-10x1.inp : 10x1x2 elements, S3
-
CantS3-20x2.inp : 20x2x2 elements, S3
-
CantS3-30x3.inp : 30x3x2 elements, S3
-
CantS3-40x4.inp : 40x4x2 elements, S3
-
CantS3-50x5.inp : 50x5x2 elements, S3
-
CantS3-60x6.inp : 60x6x2 elements, S3
-
CantCS8-10x1.inp : 10x1 elements, CS8
-
CantCS8-20x2.inp : 20x2 elements, CS8
-
CantCS8-30x3.inp : 30x3 elements, CS8
-
CantCS8-40x4.inp : 40x4 elements, CS8
-
CantCS8-50x5.inp : 50x5 elements, CS8
-
CantCS8-60x6.inp : 60x6 elements, CS8
-
CantCS6-10x1.inp : 10x1x2 elements, CS6
-
CantCS6-20x2.inp : 20x2x2 elements, CS6
-
CantCS6-30x3.inp : 30x3x2 elements, CS6
-
CantCS6-40x4.inp : 40x4x2 elements, CS6
-
CantCS6-50x5.inp : 50x5x2 elements, CS6
-
CantCS6-60x6.inp : 60x6x2 elements, CS6
-
CantCPS4-10x1.inp : 10x1 elements, CPS4
-
CantCPS4-20x2.inp : 20x2 elements, CPS4
-
CantCPS4-30x3.inp : 30x3 elements, CPS4
-
CantCPS4-40x4.inp : 40x4 elements, CPS4
-
CantCPS4-50x5.inp : 50x5 elements, CPS4
-
CantCPS4-60x6.inp : 60x6 elements, CPS4
-
CantCPS3-10x1.inp : 10x1x2 elements, CPS3
-
CantCPS3-20x2.inp : 20x2x2 elements, CPS3
-
CantCPS3-30x3.inp : 30x3x2 elements, CPS3
-
CantCPS3-40x4.inp : 40x4x2 elements, CPS3
-
CantCPS3-50x5.inp : 50x5x2 elements, CPS3
-
CantCPS3-60x6.inp : 60x6x2 elements, CPS3
-
CantC3D8-30x3x1.inp : 30x3x1 elements, C3D8
-
CantC3D8-60x6x2.inp : 60x6x2 elements, C3D8
-
CantC3D8I-30x3x1.inp : 30x3x1 elements, C3D8I
-
CantC3D8I-60x6x2.inp : 60x6x2 elements, C3D8I
-
CantC3D4-60x6x2.inp : 60x6x2x6 elements, C3D4
-
CantC3D6-60x6x2.inp : 60x6x2x2 elements, C3D6